近年来,直播行业越来越火,在超级草根网红李佳琦和薇娅等人爆火之后,罗永浩、陈赫、刘涛等名人、明星也纷纷试水,加入“直播大军”,开启了直播带货模式。
离开了科技圈儿的罗永浩最近又找到了属于自己的新天地,作为一个新兴主播,罗永浩在直播界混的可谓是风生水起,每一次直播间的人气都不输当红的明星。

4月1日20点,罗永浩在抖音首次进行带货直播。开场不到4分钟,罗永浩已位居抖音直播小时榜第一名。据抖音方面公布的数据,罗永浩直播持续3小时,支付交易总额超1.1亿元,累计观看人数超过4800万人,创下了平台目前已知的最高带货纪录。
光做直播带货还不够,老罗还开起了淘宝店。
近日,有媒体发现,日前有网友发现,淘宝上出现了一家名为“交个朋友专属店”的淘宝店铺。注册信息显示,该店铺属于成都天生骄傲科技有限公司,开设时间为5月28日。此前,罗永浩转战直播带货后的认证信息则为“交个朋友科技首席推荐官”。而店铺售卖的商品除了饮料零食之外,还有锤子科技的周边产品,包括服饰等。
对于屡败屡战、永不放弃的老罗来说,直播和淘宝店也许将是其接下来重点打造的两个项目。“项目未动,商标先行”,老罗也早早就做好了商标注册和布局工作。
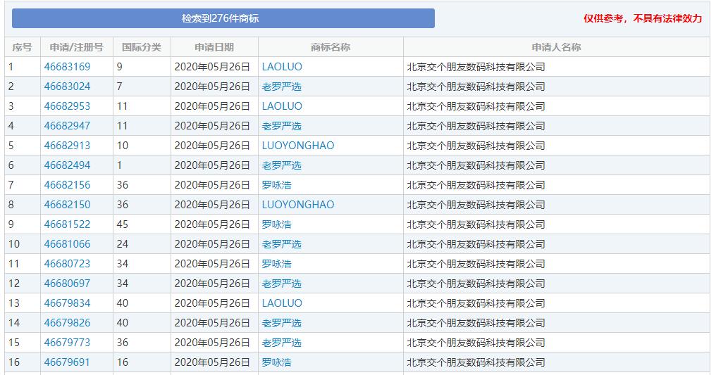
通过商标查询可发现,老罗直播公司北京交个朋友数码科技有限公司一共申请了276件商标,商标名称包含“LAOLUO”、“LUOYONGHAO”、“老罗严选”、“老罗严选”、“交个朋友”等等。

其中光是“老罗严选”商标就有45件,看来是全类别注册。

从商标注册情况来看,可以看出老罗对于直播和淘宝店是非常重视的,接下来估计会重点打造。不过直播界竞争也是很激烈的,老罗究竟会昙花一现还是成为新的带货一哥,我们拭目以待。





刷新