春雨惊春清谷天,夏满芒夏暑相连。
秋处露秋寒霜降,冬雪雪冬小大寒。
这两句诗描写了我国传统的二十四节气。
二十四节气,是中华民族悠久历史文化的重要组成部分,凝聚着中华文明的历史文化精华。二十四节气,是指干支历中表示季节、物候、气候变化以及确立“十二月建”的特定节令。它最初是以北斗星的斗柄指向确定,斗柄绕东、南、西、北旋转一圈,为一周期,谓之一“岁”(摄提);每一旋转周期,始于立春,终于大寒。
二十四节气作为中国古代订立的一种补充历法,在我国传统农耕文化中占有极其重要的位置,是我国古代劳动人民对天文、气象进行长期观察、研究的产物,其背后蕴含了中华民族悠久的文化内涵和历史积淀。二十四节气中既有表现寒暑往来物候变化的,也有反应气温高低降雨状况的,古人通过它能够直观、清楚地了解一年中季节气候的变化规律,以此掌握农时,合理安排农事活动。它不仅在农业生产方面起着指导作用,同时还影响着古人的衣食住行,甚至是文化观念。
2016年11月30日,二十四节气被正式列入联合国教科文组织 人类非物质文化遗产代表作名录。作为中国传统历法体系的重要组成部分,“二十四节气”至今是中国农民安排生产耕作的重要依据。这套体系,更是广泛影响日本韩国等东亚季风气候国家,被国际气象届誉为“中国第五大发明”。
近年来,随着我国商标注册申请量的大幅上升,商标命名也变得越来越难,想取一个合适的商标名称真心不是一件容易的事。于是有人就把主意打到了这些传统的节日名称上,我们在文章《传统节日名称注册商标受热捧,这样的商标真的好吗?》中也谈到过目前我们国家的传统节日被注册商标的还真不少,三八、端午、中秋、国庆、春节一个都不少,甚至连清明都有人注册商标。
以节日名称注册的商标,其主要优点无非是大众熟悉度高。除了传统节日之外,二十四节气在中国人中的知名度也不低,而且还蕴含着中华民族悠久的文化内涵和历史积淀。那么问题来了,二十四节气名称可以注册商标吗?
根据《商标法》第十条第八版,下列标志不得作为商标使用:有害于社会主义道德风尚或者有其他不良影响的。
社会主义道德风尚,是指我国人们共同生活及其行为的准则、规范以及在一定时期内社会上流行的良好风气和习惯。
其他不良影响,是指商标的文字、图形或者其他构成要素对我国政治、经济、文化、宗教、民族等社会公共利益和公共秩序产生消极的、负面的影响。有害于社会主义道德风尚或者具有其他不良影响的判定应考虑社会背景、政治背景、历史背景、文化传统、民族风俗、宗教政策等因素,并应考虑商标的构成及其指定使用的商品和服务。
但是并没有具体规定不能将二十四节气注册成商标,根据以往注册成功的例子,或许二十四节气是可以被注册成商标使用。
既然如此,我们不如来查一下吧,真是不查不知道,一查吓一跳,中国人真是太鸡贼了,二十四节气早就被申请商标注册了。
立春,意味着新的一个轮回已开启,乃万物起始、一切更生之义也。
与“立春”有关的商标还真不少,通过商标查询可检索到113件与之相关的商标,最早的一件“立春”商标是在1992年06月23日申请提交的,除了“立春”之外,还有“立春颜”、“立春花”、“立春 文化巷子”、“立春 春饼”、“立春茶具”、“立春小院”等等。

雨水节气标示着降雨开始,雨量渐增。
与“雨水”有关的商标也不少,一共检索到147件,最早的一件也是在1992年06月23日申请提交的。

惊蛰的意思是天气回暖,春雷始鸣,惊醒蛰伏于地下冬眠的昆虫。
与“惊蛰”相关的商标相对少一点,也有86件,商标名称包含“惊蛰”、“惊蛰云”、“惊蛰龟”、“惊蛰世纪”、“惊蛰空间”等等。

春分日太阳在赤道上方。这是春季90天的中分点,这一天南北两半球昼夜相等,所以叫春分。
与“春分”有关的商标可检索到108件,商标名称包含“春分旋律”、“春分三二一”、“春分木粉”、“春分万物生”、“春分玉芽”等等。

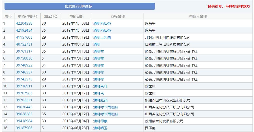
“清明”的含义是气候暖和,草木萌动,杏桃开花,处处给人以清新明朗、欣欣向荣的感觉。
与“清明”有关的商标就多了,一共有290件,可能是因为“清明”既是一个传统节日又是一个节气的原因。

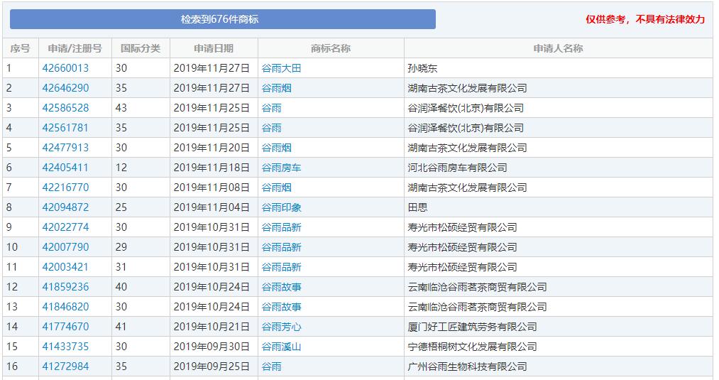
谷雨是春季的最后一个节气,这时田中的秧苗初插、作物新种,最需要雨水的滋润,所以说“春雨贵如油”。
与“谷雨”有关的商标申请就更多了,一共检索到676件,商标名称包含“谷雨大田”、“谷雨芳心”、“谷雨泽”、“谷雨丰”、“谷雨溪山”等等。

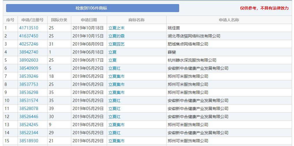
立夏,是二十四节气中的第7个节气,夏季的第一个节气,表示盛夏时节的正式开始。
与“立夏”有关的商标也有106件,商标名称包含“立夏红”、“立夏集市”、“立夏百花”、“立夏茶饮”等等。

小满,是夏季的第二个节气。小满和雨水、谷雨、小雪、大雪等节气一样,都是直接反映降水的节气。
与“小满”有关的商标有395件,最早的一件是2017年10月11日申请提交的,这个时间相对于其他节气来说就比较晚了。

芒种,谐音“忙种”,芒种的“种”字,是指谷黍类作物播种的节令。
与“芒种”有关的商标相对少一点,只有64件,最早的一件是在1990年06月30日申请提交的。

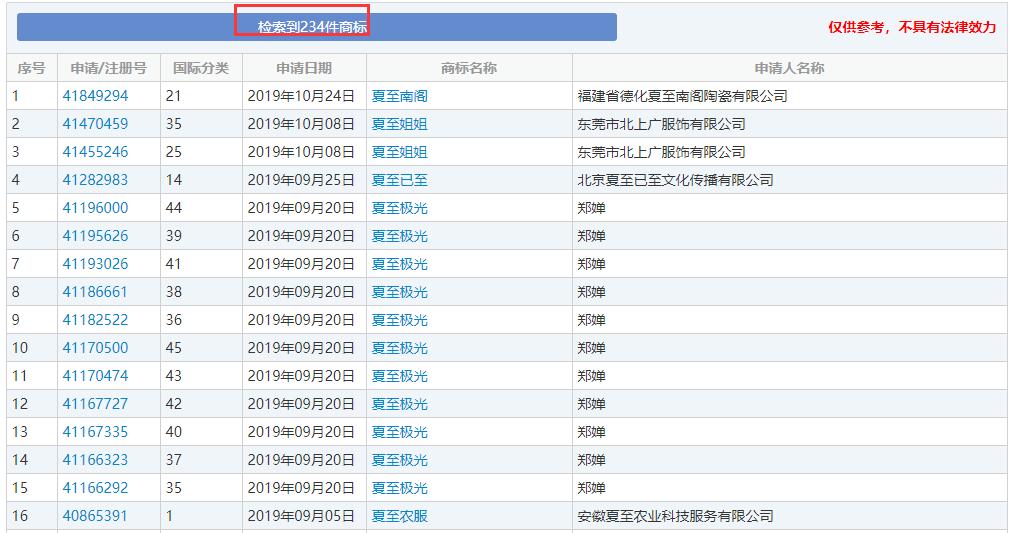
夏至这天,太阳直射地面的位置到达一年的最北端,几乎直射北回归线,此时,北半球各地的白昼时间达到全年最长。
与“夏至”有关的商标有234件,商标名称包含“夏至极光”、“夏至农服”、“夏至美学”等等。

小暑,是夏季的第五个节气,表示盛夏正式开始。
与“小暑”有关的商标只检索到28件,商标名称也相对较单一,除了“小暑”之外,还有“小暑红”、“小暑光”、“小暑理财”。

大暑是一年中最热的节气,正值勤二伏前后,长江流域的许多地方,经常出现40℃高温天气。要作好防暑降温工作。
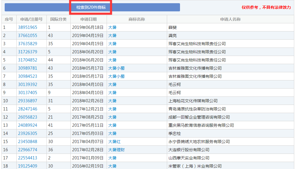
与“大暑”有关的商标就更少了,只有20件,难道是天气太热了大家注册商标的热情也降低了?

立秋是秋季的第一个节气,为秋季的起点。
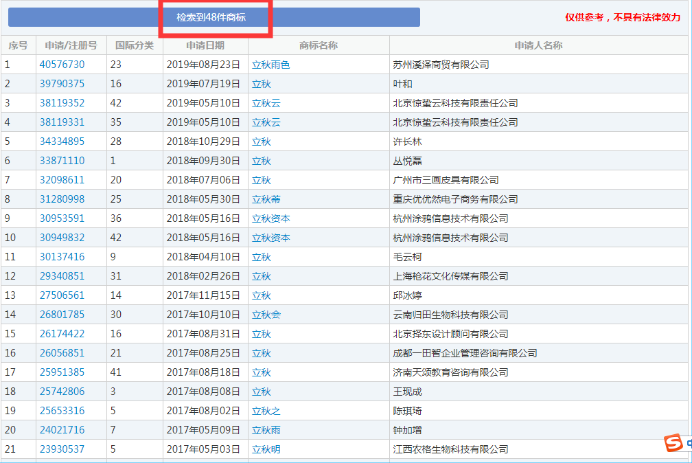
与“立秋”有关的商标有48件,商标名称包含“立秋雨色”、“立秋云”、“立秋资本”等等。

“处”是终止的意思,处暑是表示炎热的酷暑结束。
与“处暑”有关的商标只有18件,难道是因为终止的意思不太吉利?

白露是一个反映自然界气温变化的重要节令。古人以四时配五行,秋属金,金色白,故以白形容秋露。
与“白露”有关的商标又多了起来,一共检索到330件。

秋分这一天同春分一样,阳光几乎直射赤道,昼夜几乎相等。
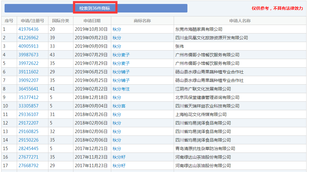
与“秋分”有关的商标又36件,商标名称包含“秋分麦子”、“秋分铺子”等等。

寒露是一个反映气候变化特征的节气,古人将寒露作为寒气渐生的表征。
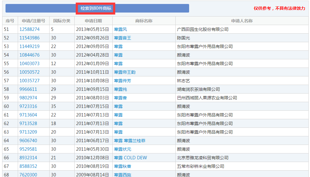
与“寒露”有关的商标又80件,商标名称包含“寒露风”、“寒露庄园”、“寒露香”等等。

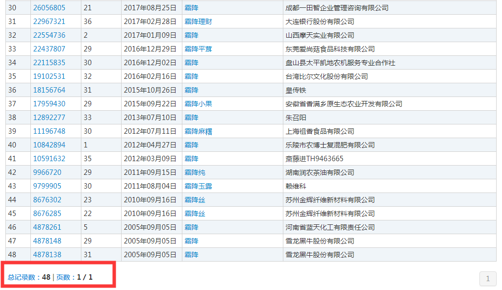
霜降是秋季的最后一个节气,是秋季到冬季的过渡。
与“霜降”有关的上有48件,最早的一件是2005年申请提交的。

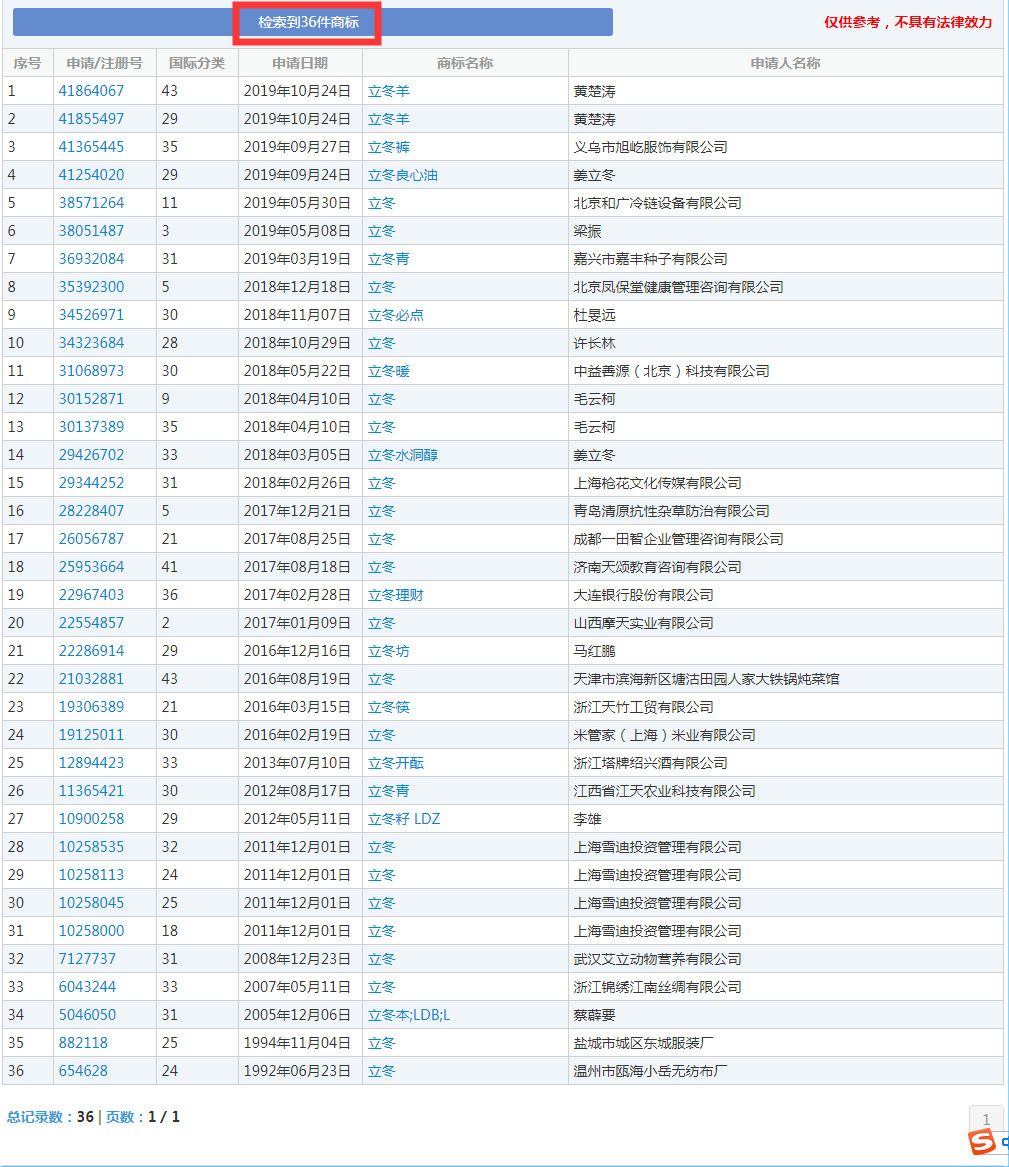
立冬是季节类节气,表示自此进入了冬季。
与“立冬”有关的商标又36件,最早的一件是1992年6月23日申请提交的。

小雪节气是一个气候概念,它代表的是小雪节气期间的气候特征。
与“小雪”有关的商标也挺多,共检索到293件。

节气大雪的到来,意味着天气会越来越冷,降水量渐渐增多。
与“大雪”有关的商标也不少 ,共有209件。

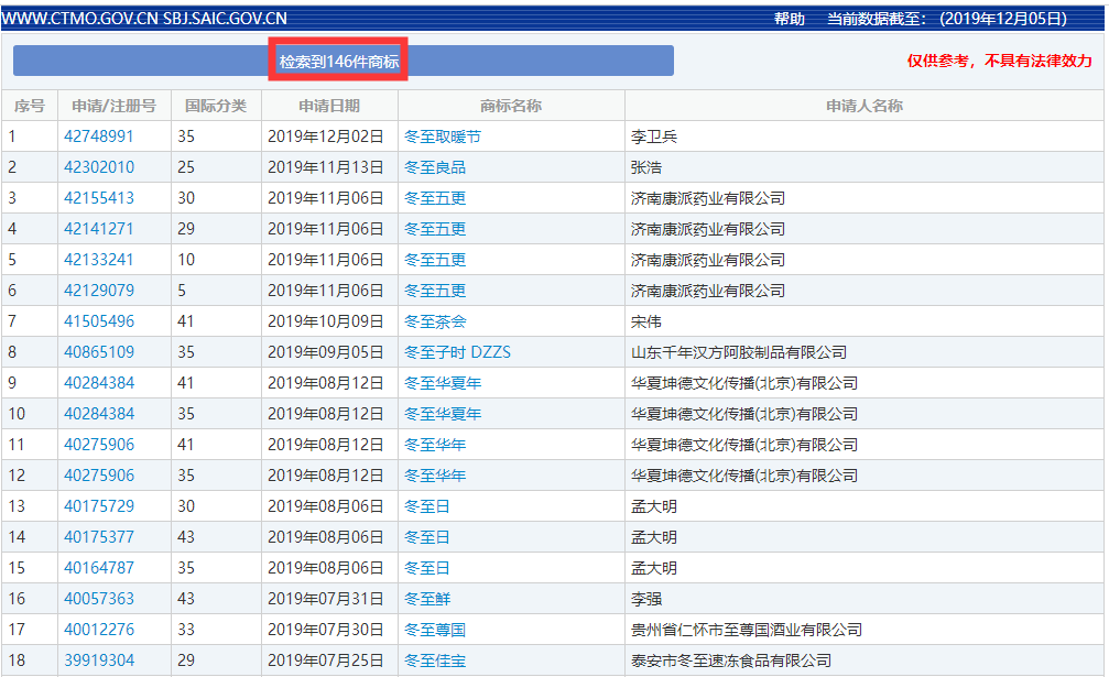
冬至标示着北半球的太阳高度最小,白昼时间最短,但是冬至日的温度不是最低。
与“冬至”有关的商标共有146件,商标名称包含“冬至取暖节”、“冬至茶会”等等。

小寒,标志着寒冬正式开始。
与“小寒”有关的商标有44件。

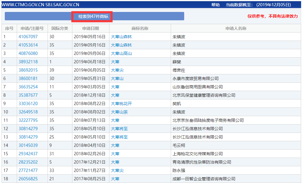
大寒同小寒一样,也是表示天气寒冷程度的节气。
与“大寒”有关的商标有47件。







刷新