张家辉本人亲自上场,作为商标申请人,一口气在45个类别上申请注册商标「渣渣辉」,这个新闻上周蹿上了微博热搜#张家辉申请渣渣辉商标#。详情可查看《张家辉申请全类“渣渣辉”商标,古天乐会注册“古田螺”吗?》。
名人以自己的名字注册商标,这个情况并不罕见,但是「渣渣辉」不是张家辉的本名啊!
作为一名敏感的知识产权人,小贝不由得脑海里冒出无数个问题:
张家辉为什么要注册「渣渣辉」?
「张家辉」也被注册了吗?
如果没有,为什么不注册自己的本名,反而全类别注册了一个网友的戏称?
要解开疑问,我们先要来了解一下,张家辉为什么会成为「渣渣辉」。
这个梗的源头是一款名为《贪玩蓝月》的传奇页游广告,广告中张家辉有一句台词是「大家好,我是张家辉!」,但是因为他普通话太过普通,张家辉听起来就变成了渣渣辉。
同时由于该游戏金主财大气粗,广告在各大网站投放,网友们只能每天被渣渣辉一遍又一遍地强迫洗脑,渣渣辉也就变成了大家心领神会的网络热梗。

张家辉在接受采访的时候,他表示自己也不是很懂这个梗,但是并不介意网友以渣渣辉称呼他,觉得亲切就好。
他也坦承这个广告给他带来一些负面影响,有网友投诉说「今天很累,一整个下午都给渣渣辉砍得要死」,所以张家辉还是决定取消这项广告合作。
2018年2月,张家辉终止了这项形象代言合作。
以上就是为什么张家辉会被称为「渣渣辉」。
事情本来到这里也就圆满结束了,但是张家辉之后发现,虽然他已经取消了这个网络广告合作,但是他的形象依然活跃在网络广告中,而且是出现在另一款游戏中,一样的活泼,一样的上脑。
他仔细一看,出品方居然还是《贪玩蓝月》的公司——「江西贪玩信息技术有限公司」。
这家公司是通过渣渣辉的走红尝到了甜头,不愿意放弃这一块吸金大肥肉,大费周章专门打造并推出了新游戏《我是渣渣辉》。

网友说着玩是一回事,游戏厂商拿来赚钱可就不要脸了。
针对这个事情,张家辉出了律师声明,指出无授权任何第三方使用张家辉的广告代言形象,对方的行为已经是侵权。
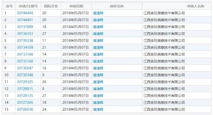
通过商标查询可发现,2018年5月开始,这间公司就试图在40个类别上注册「渣渣辉」商标,想把知名度蹿升的「渣渣辉」据为己有。

但是他们最后还是没能得逞,这些商标基本都被驳回了。(看来商标局的工作人员也没少被洗脑,认出来渣渣辉是张家辉的专属代号)
通过这件事,想必张家辉本人也意识到,在许多网友的眼中,「渣渣辉」这个名称已经客观上和张家辉绑定了。
所以我们不难理解,为什么张家辉要注册「渣渣辉」了:
一方面是更好地应对贪玩公司的侵权行为,另一方面则是明确自己的IP产权,以防止之后有更多这样的事情发生。
现在「渣渣辉」是注册下来了,那么「张家辉」呢?别名都进行了全类别注册,本名应该老早就注册了吧。
小贝同样对「张家辉」进行商标检索,检索结果是:0。

为什么注册「渣渣辉」却不注册「张家辉」?这个问题就只能靠猜了。
小贝能猜到的可能性最高的原因,就是形势所迫,前者更有及早注册的必要。
影帝作为高知名度的名人,如果有人使用他的本名做广告,他即使没有注册商标在手,通过主张自己的姓名权,一样有很大的把握可以告倒对方。但是如果对方使用「渣渣辉」做文章,那就比较难对付了。(这也许是张家辉面对《我是渣渣辉》时,选择出律师声明,而没有立即提起诉讼的原因)
「渣渣辉」又不是你张家辉的本名,主张姓名权的话还要大费周章去证明这个名称和自己本名的关联性,还有这个名称的知名度,无疑多了很多麻烦。
并不是说张家辉没有商标就没有胜算,但是如果这个时候手里有「渣渣辉」的注册商标,那就省心省事,胜券在握了。
所以在应对类似于上面贪玩公司的骚操作时,「渣渣辉」比「张家辉」更有注册为商标的必要性。
商标用时方恨无,吃了亏的张家辉,想必对商标功用有了更深刻的理解。
不过想多一层,现在明星本名被盗用甚至抢注的情况很常见,比如前不久的B站网红敬汉卿名字被抢注的事件。详情可查看《B站网红大胃王敬汉卿姓名被抢注商标,自媒体人该如何注册商标?》。
这样的漏洞,遇上有心人士不大不小是个麻烦,与其出了事再通过主张姓名权的方式去应付,为什么不连「张家辉」也注册了呢?
相对于维权所需要付出的精力和成本,注册一个商标才多少钱,打一次官司就回本了。
也有朋友说,可能渣渣辉是有注册「张家辉」的,只是因为还没过初审所以商标还没公开而已,还在路上。
嗯,有道理,咱让「张家辉」先飞一会儿。
本文版权为赛贝知识产权平台(www.saibeiip.com)所有,转载请在显著位置注明来源。






刷新