七份最火的电视剧绝对当属《亲爱的,热爱的》,这部剧是根据墨宝非宝的热门IP小说《蜜汁炖鱿鱼》改编而成,杨紫饰演的软萌少女佟年对李现饰演的热血青年韩商言一见钟情,二人在相处中甜蜜碰撞,上演一场高智商与高情商的甜萌梦幻爱情故事。
这部剧一经播出,不仅满足了观众们的充沛的少女心,官方媒体也频频表态夸张其正能量和爱国心。
《亲爱的,热爱的》不仅将杨紫的演艺事业带上了一个新高度,也捧红了男主韩商言的扮演者李现,他还被粉丝们称为“七月现男友”。更有网友爆料称“现男友”韩商言在剧中的豪宅被粉丝买下,如此硬核追星令不少“情敌”在线认输。

看过电视剧的都知道韩商言在剧中有一套豪宅,装饰的很不错,剧中也是出现了好几次。随着这部剧的热播,也是有粉丝把剧中韩商言住的这套房子给买了下来,这个追星的粉丝真的是超大手笔。很多网友知道后也表示够速度,都表示很羡慕。
近日,赛贝小编发现了另外一件关于“韩商言”的事情,赛贝小编在查询商标时,发现有人将“韩商言”注册全类商标了。

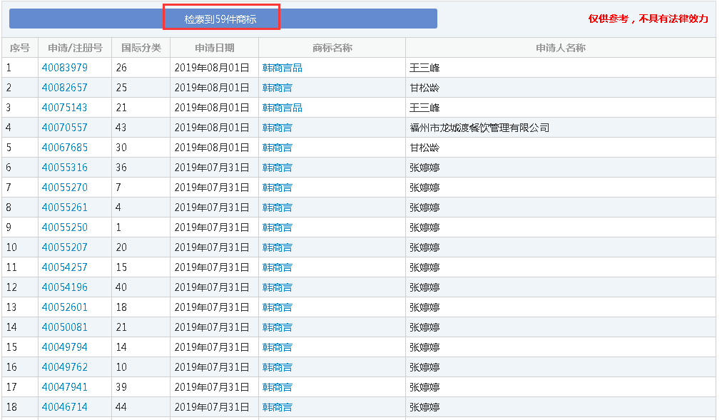
通过检索“韩商言”,可以检索大59件相关的商标申请,其中有45件都是一个叫张婷婷的人申请的,而且是全类商标注册。
而《亲爱的,热爱的》电视剧制作方上海剧酷文化传播有限公司却没有注册任何“韩商言”商标,仅仅只是注册了10个“亲爱的热爱的 蜜汁炖鱿鱼 GO GO SQUID!”商标。

这样看来,这个大手笔注册“韩商言”商标的张婷婷,要么如上文购买韩商言豪宅的粉丝一样,是一个硬核粉丝;要么就是看中了《亲爱的,热爱的》以及韩商言的人气和商机,想要蹭一蹭热度。
目前这45枚“韩商言”商标都处于商标受理中,至于能否成功注册下来还不得而知,希望这位粉丝好运。
本文版权为赛贝知识产权平台(www.saibeiip.com)所有,转载请在显著位置注明来源。






刷新