2019年上半年马上就要过去了,这6个月发生了很多事情,也产生了很多网络热门词汇,这次词汇由于使用范围广,传播速度快深受一些商标抢注人和一些商家的喜爱,因为不需要花费太多宣传费用就可以快速获得较高的市场关注度,还有部分网络热词与商家所经营商品及服务的含义不谋而合,使用这些热门词汇做商标可以起到事半功倍的效果。
那么2019年上半年都有哪些热门网络词汇呢?其中又有哪些都被“眼明手快”的人抢先注册商标了呢?下面就随赛贝小编一起来看看吧。
1、柠檬精
出处:这个梗是从电竞圈传出来的,主要形容的是WE战队的脑残粉丝,据说由于RNG获得了很多奖项,WE的粉丝就各种吐槽,还说过很多大冒酸味儿的话语,反正就是见不得别人好。
用法:柠檬精,也称柠檬人,网络流行语,是指很喜欢酸别人,无论说什么话,做什么事儿,都要膈应别人一下的杠精,后来延伸出“我酸了”。
通过商标查询可发现,关于“柠檬精”的商标注册申请有一条,是在2019年3月25日提交的,商标注册类别为第35类。

2、盘他
出处:2019年用途最广的一个词,就是“盘它”。这个词最早来自德云社相声《文玩》,这是郭德纲的弟子孟鹤堂、周九良参加东方卫视节目比赛时说的段子。孟鹤堂描述周九良的父亲退休后收藏古玩,某天买了个龙形根雕:“看着它干干巴巴的、嘛嘛咧咧的,一点都不圆润,盘它!”
孟鹤堂说的“盘它”指周父以手触摸、润滑根雕,没想到“盘它”居然爆红,成为流行网络热词,出现各种“盘”字用法,例如心情不爽时,“盘它”就是抱怨它;看见美食“盘它”,就是买美食、吃美食;有心仪的人,“盘它”代表的是“动手”,追她撩她。
用法:看不惯某件事情或者某个人,就可以用盘他;有怼他,撩她等等意思。
与“盘他”有关的商标注册申请可就多了,赛贝小编一共找到了160条,其中最早是由自然人胡春苗在今年的1月8日提交注册申请的,而且“盘他”商标的申请类别多种多样,基本涵盖了45个大类。

3、雨女无瓜
出处:出自于《巴啦啦小魔仙》中,原意是“与你无关”,这样的发音让不少网友笑翻。还有人因为觉得好玩,拿这些谐音语汇做成表情包,立刻成为热门流行语。
用法:这是一个谐音梗,与瓜没有关系,真意是“与你无关”。
这个词汇的商标注册申请基本集中在5月和6月,正是这个词汇刚刚流行起来的时候。

4、996 ICU
出处:“工作996,生病ICU”,上午九点上班,晚上九点下班,周末加班,长时间工作身体扛不住最后生病住院,甚至有进入ICU的情况,因此成为996.ICU
用法:形容社畜如果工作时间过长,然后很容易进医院。
关于“996 ICU”的商标注册申请目前只有一条,估计是跟这个词汇相关的业务不多吧。

5、OMG
出处:带货王李佳琦,在录制口红试色时的口头禅,表示惊叹、惊讶、感慨的语气。
李佳琦在抖音上录制口红试色视频时,因为每一种颜色都非常好看,所以他在后面都会加一句“Oh My God,我的妈呀,太好看了!”,“这口红颜色太美啦!”“爆款啊!”“那肯定买买买!”走红网络。
带货王李佳琦的影响力果然不同凡响,“OMG”的商标注册申请一共有384条,不过可能也与这个词汇本身就是一个常用头口语有关。

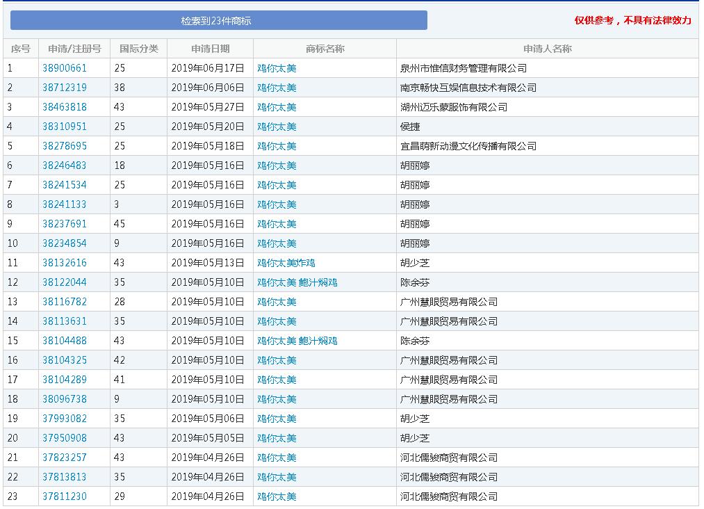
6、鸡你太美
出处:蔡徐坤在介绍他演绎的SWIN歌曲《只因你太美》时,因唱的太快,调太怪,被听成:鸡你太美。配合原视频中的篮球秀和舞蹈,被网友恶搞后,在B站上形成了病毒式传播。
用法:“鸡你太美”的 “鸡”不再是传统文化中的“鸡”,而是一种戏谑的符号,也是对蔡徐坤粉丝网络争议的一种反抗。
蔡徐坤不愧为顶级流量明星,“鸡你太美”不仅为B站共享了一大波流量,也有很多商家看到了其中的商机,在4月26日就开始抢注这枚商标了,还有一些做餐饮行业的企业也在注册这枚商标。

7、像极了爱情
“像极了爱情”是出自网易云音乐的热评,原句是”暖昧上头的那几秒,像极了爱情”之后这个梗被用于抖音和快手的各种地方。“像极了爱情”并没有特殊的含义,算是抽象文化的一种,爱情是复杂的,变化多端的,世界上任何的人都不能正确详细的诠释爱情。这也就是像极了爱情这个梗的由来,抖音上现在基本上任何视频都可以用像极了爱情来做评论,无论是开心、不开心、甚至是愤怒都可以用像极了爱情来形容,这么一看”像极了爱情”好像包含了万物的种种情绪。
“像极了爱情”这句短语注册商标的实际主要集中在2月份,商标注册类别集中在第43类、第35类、第33类、第45类等多个类别。

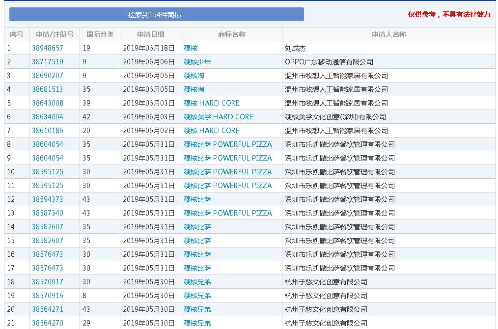
8、硬核
简单地可以把它理解为是很厉害、酷、彪悍、牛逼、刚硬、厉害了,这些意思。
作为网络流行语的该词,原本的含义为形容说唱音乐和游戏。因此早有硬核说唱和硬核游戏的说法。后来引申出“面向核心受众,有一定难度和欣赏门槛的事物”或者“类似核心受众或高水平爱好者的行事风格”。
与“硬核”有关的商标就多了,不仅有单独的“硬核”,还有“硬核披萨”“硬核兄弟”“硬核大妈”“硬核部落”......好像任何东西只要搭上了“硬核”,就会显得很厉害一样。

9、车厘子自由
该词来源文章《26岁,月薪一万,吃不起车厘子》。文章中作者提到了一个“女生财务自由的15个阶段”对照表。最基本的是辣条自由,然后是奶茶自由、视频网站会员自由、外卖自由、咖啡自由、车厘子自由、口红自由、衣服自由等。一瞬间让车厘子成了在切糕、茶叶蛋之后的新晋富有代名词。在精致的现代生活表象背后,初入职场的年轻人大多背负着巨大的生活压力,通过自嘲或者自我诙谐的方式,诉诸外界告自我的“生活理想”,也是现代年轻人的乐天派心理的折射。
注册“车厘子自由”商标的人也不是很多,一共有四个,有两家是食品公司,一家是装饰公司,商标注册类别也是第30类、第31类以及第35类这几个热门类别。

从这些热门词汇的商标注册时间可以看出来,基本上是这次词汇一火,就有人开始注册商标,时机瞄准的非常好。但是话又说回来,注册这样的商标真的对企业宣传和推广有用吗?
众所周知,商标信誉是指商标在消费者心目中的印象及对商标的评价。要知道商标信誉的基础是商品质量或服务质量,如果没有好的产品或者服务质量,再好听再响亮的名字恐怕也不能为广大消费者所接受。
这里我们不得不思考一下,去申请这些所谓的热点热门网络词汇或者热门影视作品、人物或者名称,就真的能投机带来财富吗?商标抢注的目的是为了吸引大众眼球,博得关注,那公众一定会对此买账吗?相关吸引力会转化为购买力吗?更为重要的是这种盲目注册还会带来一定的社会资源浪费。
而且热门词汇虽然短时间内可以聚集大量的力量,传播速度也很快,但是它也同样有一个弊端,那就是它的热度同样散的很快,注册一枚商标最少需要几个月的时间,可能商标还未注册下来,网络词汇已经“不热”了,那么商家想要利用网路词汇热度宣传的目的也就要落空了。
因此,赛贝知识产权平台建议广大客户申请商标,要理性注册,不能盲目跟风,或者希望凭借某商标一举获利,这些都是不可取的。如果把商标注册也看成一项投资,奉劝良言一句:商标有风险,注册需谨慎!
本文版权为赛贝知识产权平台(www.saibeiip.com)所有,转载请在显著位置注明来源。






刷新