抖音是近年来大家使用最多的短视频APP之一,抖音上每天都有可能出现新的网红,很多人凭借抖音平台会一夜爆红。今年年初,抖音上出现了一个网红流浪汉,人称“流浪大师”。
这位“大师”名叫沈巍,虽然蓬头垢面,但是以手执经书、身穿脏棉袄的“洪七公”迅速走红网络,在抖音里时常引经据典,《左传》、《诗经》、《菜根谭》、《三国演义》等古书名句常脱口而出,激扬文字、点评金句、舌灿莲花,吸引了大量的IP流量,成了名副其实的“网红”。

有句老话说得好:“时势造英雄”,在这个网络时代,网红的影响力在某段时间可能不亚于明星,而在这背后,是成千上万大众的注意力。火爆抖音之后,“流浪大师”的IP已经获得了数万的关注度,甚至还有 自媒体创作者不惜奔赴千里为了目睹大师一面。因此,我们可以看出,网红IP背后的巨大经济价值。
而此次“流浪大师”的出现,又掀起了一阵风浪。赛贝小编查了一下,发现“流浪大师”爆红之后,许多企业开始抓住这个热点商机,开始抢注“流浪大师”商标。
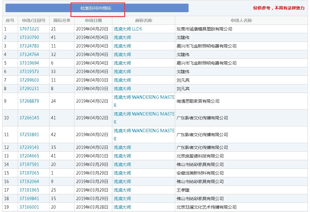
通过商标查询可发现,从2019年3月21日起,截至目前,已经有48件“流浪大师”相关的商标注册申请,商标注册类别涵盖第21类、第41类、第11类、第35类、第25类等多类别,国民抓热点的速度还是相关快的。

看到这里,可能有人会比较疑惑,不过是一个突然出现的网红,也不是什么名人,为何大家要抢注“流浪大师”的商标呢?
说到底,大家看重的并非这个人,而是这个网红IP背后的价值罢了。
网红时代,IP最值钱,尤其是个人IP。个人IP吸引过来的流量是最好的流量,IP无论在什么时候都是最值钱的而且历久弥新。互联网每天产生的内容超过300亿条,真正有价值的不超过0.1%也就是垃圾流量过剩。那么项目在引流的过程中最想得到的肯定是优质的流量,优质的流量往往就是一个优秀IP的宣传效应。
比如近年大火的papi酱,2015年她凭借一条视频爆红网络,2016年4月21日,在罗振宇、徐小平等人的运作下,papi酱第一条视频广告拍出2200万元的天价,成了全民话题。如今,除了不定期更新赖以成名的短视频,papi酱还成了两家包含她名字(逸磊)的创业公司的老板,拍了奢侈品手表和一家运动品牌的广告,还出演了陈可辛监制、吴君如导演的新片。

papi酱之所以能够一条广告拍出2200万元的天价,归根到底还是因为她本身具有的IP价值,
当网红在积累第一批粉丝之后,通常会找到自我身上的一个标签,这个标签则是网红消费价值的直观体现,并直接决定了网红的变现方式。
而现在的“流浪大师”虽然还没有达到papi酱这样的热度,但是不可否认的是目前他是具有一定的热度的,现在花一小笔钱注册“流浪大师”商标,一旦注册成功,后期就可以利用该IP的热度进行推广和盈利,即使流浪大师只是昙花一现,对于这些商标抢注者来说也没有太大的损失,这样难怪抢注网络热词商标成为一种热门现象了。






刷新